简介:
电流时国际7个基本单位之一,其余电量如电压、功率、相位、频率也是生产控制、科学研究、能源供应中极为重要的最常用的基本的电量。同时,电学又是其他计量学科,自动化和数字化计量的基础。因此保证电流、电压、功率、相位、频率量值的准确和统一,对我国的经济建设和科学的发展意义十分重大。我院承担着全国部分地区级四川省量值传递工作,建立交直流精密电表标准装置和电压、电流交直流转换检定装置社会公用计量标准就是为了对电流、电压、功率、相位、频率等电参量进行准确、可靠地量值传递工作,保证国家量值的统一。
工作原理:
交直流精密电表标准装置原理:
1、检定直流电流时,采用标准电阻法进行检定,即直接通过数字多用表在标准电阻上读取电压值VN,从而获得相应的电流的实际值IN=VN/RN。

检定直流电流表的原理 如图1
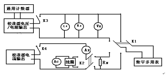
2、检定其他电量仪表时采用直接比较法,即通过直接比较被检表测量值Ax和标准表的测量值AN,从而测得误差△=Ax-AN。

检定的原理 如图2
电压、电流交直流转换检定装置原理
装置由数字多用表、标准电阻、标准功率表、通用计数器及多功能校准源组成。装置原理如图3,采用标准表法(直接法)检定/校准。即由多功能校准源能输出电流信号给被检表(仪器)和标准表,并在被检表(仪器)和标准表上读取相应电量值测得值和实际值,从而计算出误差。特别对于直流电流的测量,也采用数字多用表法(间接法)进行检定/校准,即被检表(仪器)测量端串联适当的标准电阻,用数字多用表在标准电阻上读取电压值,从而获得相应的电流的实际值。对于仅有测量功能的电量表(计)还可采用标准源法,即标准源直接输出标准电量给被检表(计),并在被检表(计)上直接读取被检表显示值,根据被检显示值和标准值之差计算出误差。钳形电流表采用等安匝法进行检定/校准。其原理是利用同一电流通过同向多匝线圈产生磁场的总和,与该电流和匝数乘积想到的电流流过单根导线产生的磁场相等,从而以小电流通过线圈产生等同磁场来进行对大电流钳形电流表的检定/校准。

图3
测量范围:
交直流精密电表标准装置
测量范围: 电压(0~1000)V 电流(0~20)A 功率(0~600)/(0~20)A
相位(0~360)° 频率40Hz~10kHz
最大允许误差: 电压±0.01%,电流±0.01%,功率±0.01%,相位±0.03°,频率:±1×10-5
电压、电流交直流转换检定装置
测量范围:电压(0~1000)V,电流(0~1000)A,功率(0~600)V/(0~100)A,相位(0~360)°,频率(0~20k)Hz,电阻0.01Ω~100MΩ
最大允许误差:直流电压±0.001%,交流电压±0.01%,
直流电电流±0.005%(100A~1000A±0.2%),交流电流±0.01%(100A~1000A±0.2%)
功率±0.01%,相位±0.005°,频率±2×10-6,电阻±0.005%,(0.1MΩ~100MΩ ±0.2%)
企业邮箱
搜索



